浙江省杭州第二中学2023-2024学年高一下学期期中信息技术试题(Word版附解析)
展开第一部分 信息技术(共50分)
一、选择题(本大题共12小题,1—4题每小题3分,5—12题每小题2分,共28分。每小题列出的四个备选项中只有一个是符合题目要求的,不选、多选、错选均不得分)
1. 在Pythn中,想得到3除以7的整数部分,需要用到以下哪个算术运算符号( )
A. +B. /C. //D. %
2. 以下四个选项中属于字符串类型的是( )
A. thing="面包,矿泉水"B. prductin=["面包","矿泉水"]
C. recrd={"面包":4.5, "矿泉水":2}D. price=4.5
3. 以下哪个流程图表示了Pythn中的分支结构( )
A. B. C. D. 以上都不是
4. 下列Pythn表达式中,其值最大的是( )
A. 7//2+2B. int(-9.3)C. 2**3D. len("15")
5. 下列字符串中,最大的是( )
A. "456"B. "45"C. "54"D. "56"
6. “如果a,b中任意一个为0,那么y=y+1”,能实现该功能的Pythn语句是( )
A. AB. BC. CD. D
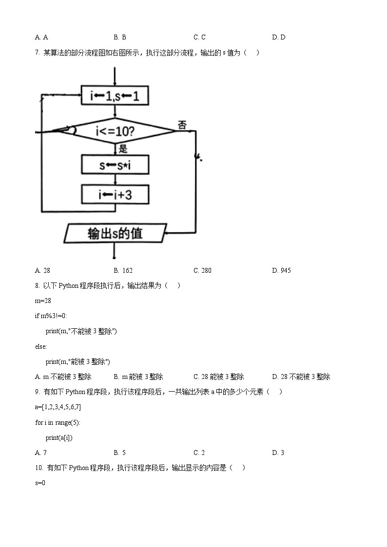
7. 某算法的部分流程图如右图所示,执行这部分流程,输出的s值为( )
A. 28B. 162C. 280D. 945
8. 以下Pythn程序段执行后,输出结果为( )
m=28
if m%3!=0:
print(m,"不能被3整除")
else:
print(m,"能被3整除")
A. m不能被3整除B. m能被3整除C. 28能被3整除D. 28不能被3整除
9. 有如下Pythn程序段,执行该程序段后,一共输出列表a中的多少个元素( )
a=[1,2,3,4,5,6,7]
fr i in range(5):
print(a[i])
A. 7B. 5C. 2D. 3
10. 有如下Pythn程序段,执行该程序段后,输出显示的内容是( )
s=0
fr k in range(1,5,2):
if k<=1:
m=1
if k<=2:
m+=2
else:
m+=3
s+=m
print(s)
A. 4B. 5C. 9D. 13
11. 有如下Pythn程序段,可以实现从班级学生中随机抽取五名学生参与班会活动。
imprt randm#randm模块中的常用函数如上表所示
#导入学生名单到列表a中,a=["张*","李*",...,丁*"]
name_list=[] #列表name list存放随机生成的学生名单
fr i in range(5):
t=①
②
a.pp(t) #从列表a中删除已被抽取的学生,避免重复抽取
上述程序段中划线处依次可填入的语句是( )
A. ①randm.randint(0,len(a)-1) ②name_list+=a[t]B. ①int(randm.randm()*len(a)) ②name_list+=a[t]
C. ①randm.randint(0,len(a)) ②name_list.append(a[t])D. ①randm.randint(0,len(a)-1) ②name_list.append(a[t])
12. Pythn在各个编程语言中比较适合新手学习,Pythn的创始人(龟叔)是( )
A. James GslingB. Guid van RssumC. Dennis Mac Alistair RitchieD. Alan Cper
二、非选择题(本大题共2小题,其中第13小题12分,第14小题10分,共22分)
turtle常用函数库
13. 想象一下,你是一位小小的魔法师,正站在一个神奇的画布前,准备用你的魔法棒(其实是turtle库的画笔)绘制出一个个绚丽多彩的正n多边形。
①____ #导入turtle库
t.pensize(5)
t.speed(10)
t.clr("yellw","blue")
n=②____ #输入边数,参考图1显示
d=int(input("请输入边长:""))
tbegin_fill()
fr i in range(③____): #设置循环次数
t.frward(d)
t.left (④____) #设置n边形每条边的旋转角度
t.end_fill()
(1)在程序中某些数据是可变的,例如程序中的n。为了更灵活地处理数据,可以用变量来存储,以下变量名合法的是( )
A.4st_dhc B.uldj C.s4t#v D.fr
(2)你已经知道了基本的绘制步骤,但还有一些细节需要完善。请根据你的魔法知识,在横线处填入合适的代码,让魔法棒按照你的意愿行动吧!!(图1是用户输入界面)
(3)当获取用户的n的值为5,d为60,则绘制出( )
A.黄边蓝底的正五边形 B.黄边蓝底的正六边形 C.蓝边黄底的正五边形 D.蓝边黄底的正六边形
14. 在数学王国里,回文数是一种特殊的数,它们拥有一种神奇的特性:无论是从左往右读还是从右往左读,它们都是相同的。例如数字12321就是一个典型的回文数。现在,我们要编写一个程序,来检测用户输入的数是否为回文数。如果是回文数,我们将使用turtle库来绘制一个半径为50的圆形;如果不是回文数,将绘制一个边长为100的三角形。
(1)若用户输入"23746732",运行程序后绘制出____(圆形/三角形)。
(2)以下程序还未完成,请在横线处填入合适的代码。
#导入turtle库,代码略
turtle.pensize(5)
turtle.speed(50)
#以下代码判断用户输入是否为回文数
m=input("请输入数字:")
n=len(m)
①____ #设置flag初值
fr i in range(n//2+1):
if m[i] !=②____:
flag=False
#以下代码根据判断结果绘图
if flag==True:
③____
else:
fr j in range(3):
turtlefrward(100)
turtleleft(120)
(3)小明完成程序后,意识到可以通过切片操作来更高效地判断一个整数m是否为回文数。于是他编写了以下程序,下划线处应填写的语句为:____
m=input("请输入数字:")
if : #判断原字符串与反转字符串是否相等
print("该数字是一个回文数!")
else:
print("该数字不一个回文数!")
A.if a=0 And b==0
y=y+1
B.if a*b==0:
y=y+1
C.if a==0,b=0
y=y+1
D .if a×b==0:
y=y+1
名称
含义
randm.randint(a,b)
随机生成一个[a,b]范围内的整数
randm.randm()
随机生成一个[0,1)范围内的实数
randm.chice(seq)
从序列seq的元素中随机挑选一个元素
turtle.pen size()
设置画笔的粗细
turtle.speed()
设置画笔移动速度
turtle.clr("a","b")
设置画笔颜色(a)和填涂颜色(b)
turtle.begin_fill()
开始填充颜色
turtle.end_fill()
结束填充颜色
turtle.right(degree)
顺时针移动degree度
turtle.left(degree)
逆时针移动degree度
turtle.circle(radius,extent)
根据半径radius绘制extent(默认360)角度的弧形
浙江省杭州市学军中学2023-2024学年高二下学期5月月考信息技术试题(Word版附解析): 这是一份浙江省杭州市学军中学2023-2024学年高二下学期5月月考信息技术试题(Word版附解析),文件包含浙江省杭州学军中学2023-2024学年高二下学期5月月考技术试题-高中信息技术Word版含解析docx、浙江省杭州学军中学2023-2024学年高二下学期5月月考技术试题-高中信息技术Word版无答案docx等2份试卷配套教学资源,其中试卷共26页, 欢迎下载使用。
浙江省会稽联盟2023-2024学年高一下学期4月期中信息技术试题(Word版附解析): 这是一份浙江省会稽联盟2023-2024学年高一下学期4月期中信息技术试题(Word版附解析),文件包含浙江省会稽联盟2023-2024学年高一下学期4月期中技术试题-高中信息技术Word版含解析docx、浙江省会稽联盟2023-2024学年高一下学期4月期中技术试题-高中信息技术Word版无答案docx等2份试卷配套教学资源,其中试卷共13页, 欢迎下载使用。
浙江省余姚中学2023-2024学年高一下学期期中考试信息技术试题(Word版附解析): 这是一份浙江省余姚中学2023-2024学年高一下学期期中考试信息技术试题(Word版附解析),文件包含浙江省余姚中学2023-2024学年高一下学期期中考试技术试题-高中信息技术Word版含解析docx、浙江省余姚中学2023-2024学年高一下学期期中考试技术试题-高中信息技术Word版无答案docx等2份试卷配套教学资源,其中试卷共18页, 欢迎下载使用。

