所属成套资源:北师大版数学必修第一册导学案整册
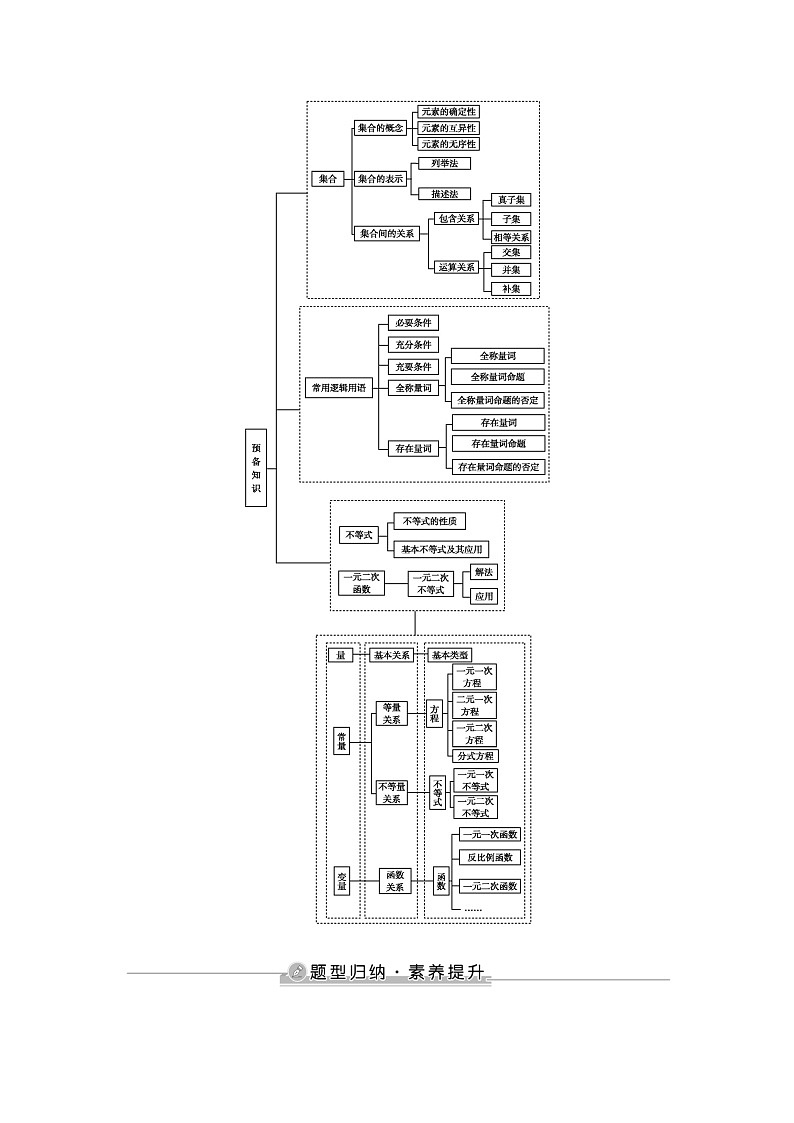
北师大版高中数学必修第一册第一章预备知识学案
展开
这是一份北师大版高中数学必修第一册第一章预备知识学案,文件包含章末总结docx、43一元二次不等式的应用docx、132全集与补集docx、11集合的概念与表示docx、131交集与并集docx、31不等式的性质docx、12集合的基本关系docx、211必要条件与充分条件一docx、4142docx、321基本不等式docx、322基本不等式的应用docx、212必要条件与充分条件二docx、221全称量词命题与存在量词命题docx、222全称量词命题与存在量词命题的否定docx等14份学案配套教学资源,其中学案共276页, 欢迎下载使用。
§1 集 合1.1 集合的概念与表示核心知识目标核心素养目标1.通过实例了解集合的含义.2.掌握集合中元素的特性.3.体会元素与集合的“属于”关系.4.初步掌握集合的两种表示方法——列举法、描述法,感受集合语言的意义与作用.5.在具体情境中,了解空集的含义.1.通过集合概念的学习,逐步形成数学抽象素养.2.借助集合元素互异性的应用,培养逻辑推理素养. 集合及相关概念[问题1] 集合是一个古老而又非常自然的概念,成语“物以类聚”“人以群分”就蕴含着集合的概念.其实在初中,也接触过“集合”一词.在现代数学里,集合是一种简单、高雅的数学语言.那么我们怎样理解数学中的“集合”呢?提示:①自然数的集合;②不等式解的集合;③到一个定点的距离等于定长的点的集合.知识点1:集合和元素的相关概念(1)集合:把指定的某些对象的全体称为集合,通常用大写英文字母A,B,C,…表示.(2)元素:集合中的每个对象叫作这个集合的元素,通常用小写英文字母a,b,c,…表示.[思考1] 某班身高高于175 cm的所有男生能否构成一个集合?提示:能构成一个集合,因为标准确定.[例1]下列四组对象,能构成集合的是( )(A)某班所有高个子的学生(B)著名的艺术家(C)一切很大的书(D)倒数等于它自身的实数解析:某班所有高个子的学生,因为高个子学生不确定,所以不满足集合元素的确定性;著名的艺术家,因为著名的艺术家不确定,所以不满足集合元素的确定性;一切很大的书,因为很大的书不确定,所以不满足集合元素的确定性;倒数等于它自身的实数为1与-1,所以满足集合的定义,故正确.故选D.变式训练1-1:(多选题)下列各组对象能够组成集合的是( )(A)2019年国际篮联篮球世界杯参赛队伍(B)中国文学四大名著(C)著名的歌唱家(D)我国的直辖市解析:A,B,D所表示的对象都能确定,能组成集合.由于著名没有一个确定的标准,因此选项C著名的歌唱家不能组成集合.故选ABD.判定一组对象能否构成集合的关键是看集合中的对象是否是确定的,也就是有明确的标准,即给定的对象必须是“确定无疑”的,而不能是“模棱两可”的. 元素与集合的关系[问题2] 我国古代的四大发明可以构成一个集合,它们分别是造纸术、活字印刷术、指南针和火药.当我们提到指南针时就知道它是四大发明的一种,而《西游记》不是四大发明.那么指南针、《西游记》和四大发明所构成的集合之间各有什么关系?提示:指南针是四大发明之一,属于这个集合;《西游记》不是四大发明,不属于这个集合.知识点2:元素与集合的关系(1)元素与集合的关系①属于:如果元素a在集合A中,就说元素a属于集合A,记作a∈A.②不属于:如果元素a不在集合A中,就说元素a不属于集合A,记作a∉A.(2)常用数集及符号表示数集名称自然数集正整数集整数集有理数集实数集正实数集字母表示NN*或N+ZQRR+[思考2] 设集合A表示“1~10以内的所有素数”,3,4这两个元素与集合A有什么关系?如何用数学语言表示?提示:3是集合A中的元素,即3属于集合A,记作3∈A;4不是集合A中的元素,即4不属于集合A,记作4∉A. [例2] (1)下列所给关系正确的个数是( )①π∈R;②∉Q;③0∈N+;④|-5|∉N+.(A)1 (B)2 (C)3 (D)4(2)已知集合A由三个数a-2,2a2+5a,3组成,且-3∈A,求实数a的值.(1)解析:①π是实数,所以π∈R正确;②是无理数,所以∉Q正确;③0不是正整数,所以0∈N+错误;④|-5|=5为正整数,所以|-5|∉N+错误.故选B.(2)解:由-3∈A,得a-2=-3或2a2+5a=-3.①若a-2=-3,则a=-1,当a=-1时,2a2+5a=-3,不满足集合元素的互异性,所以a=-1不符合题意.②若2a2+5a=-3,则a=-1或-.当a=-时,a-2=-,符合题意;当a=-1时,由①知,不符合题意.综上可知,实数a的值为-.变式训练2-1:已知集合A中的元素满足2x+a>0,a∈R.若1∉A,2∈A,则实数a的取值范围为 . 解析:因为1∉A,2∈A,所以即-4<a≤-2.答案:-4<a≤-2根据确定的元素属于集合求解含参数(未知量)的问题,求解时,先根据集合中元素的确定性解出参数的所有可能的值,再根据集合中元素的互异性对集合中的元素进行检验.另外,在利用集合中元素的特性解题时要注意分类讨论思想的运用. 集合的表示方法[问题3] 地球上的四大洋组成的集合如何表示?不等式x-5<0的解组成的集合又如何表示呢?两个集合中的元素个数有何区别?提示:地球上的四大洋组成的集合可以一一列举出来.而不等式x-5<0的解组成的集合不能一一列举.第一个集合中的元素是有限个,而第二个集合中的元素是无限个.知识点3:集合的表示方法(1)集合的表示方法①列举法:把集合中的元素一一列举出来写在花括号“{ }”内表示集合的方法叫作列举法.②描述法:通过描述元素满足的条件表示集合的方法叫作描述法.一般可将集合表示为{x及x的范围|x满足的条件},即在花括号内先写出集合中元素的一般符号及范围,再画一条竖线“|”,在竖线后写出集合中元素所具有的共同特征.(2)集合的分类①有限集:含有有限个元素的集合叫作有限集.②无限集:含有无限个元素的集合叫作无限集.③空集:把不含任何元素的集合叫作空集,记作.(3)区间的概念设a,b是两个实数,且a<b.定义名称符号数轴表示{x|a≤x≤b}闭区间[a,b]{x|a<x<b}开区间(a,b){x|a≤x<b}半开半闭区间[a,b){x|a<x≤b}半开半闭区间(a,b]{x|x≥a} [a,+∞){x|x>a} (a,+∞){x|x≤b} (-∞,b]{x|x<b} (-∞,b)R (-∞,+∞)[例3] (1)用列举法表示下列集合:①不大于7的所有非负偶数组成的集合;②方程2x2-x-1=0的所有实数解组成的集合;③一次函数y=x+3与y=2x的图象的交点组成的集合.(2)用描述法表示下列集合:①不等式2x-3>0的解集;②平面直角坐标系中第二象限内的所有点组成的集合;③被3除余1的所有整数组成的集合.解:(1)①不大于7的所有非负偶数分别是0,2,4,6,所以该集合可用列举法表示为{0,2,4,6}.②方程2x2-x-1=0的实数解分别是-,1,所以该集合可用列举法表示为{-,1}.③由得所以一次函数y=x+3与y=2x的图象的交点为(3,6),所以一次函数y=x+3与y=2x的图象的交点组成的集合为{(3,6)}.(2)①{x∈R|2x-3>0}.②{(x,y)|x<0,且y>0}.③{x|x=3n+1,n∈Z}.变式训练3-1:用适当的方法表示下列集合.(1)所有奇数组成的集合;(2)不大于10的所有素数组成的集合;(3)平面直角坐标系中的所有点组成的集合;(4)满足-1<2x-1≤3的x的取值集合.解:(1){x|x=2n-1,n∈Z}.(2)不大于10的所有素数分别是2,3,5,7,所以该集合可用列举法表示为{2,3,5,7}.(3){(x,y)|x∈R,且y∈R}.(4)由-1<2x-1≤3,得0<x≤2,所以该集合可用区间表示为(0,2].(1)列举法表示集合的一般形式为{a1,a2,…,an},其中ai,i=1,2,…,n为集合的元素.(2)描述法表示集合的一般形式为{x|p(x)},其中x为集合的一般符号及范围,p(x)为元素所具有的共同特征.提醒:在用列举法表示集合时,不能用{所有实数}或{R}来表示实数集R.集合表示方法的综合应用[典例] 已知集合A={x|kx2-8x+16=0}.(1)若集合A中只有一个元素,求实数k的值组成的集合;(2)若集合A中只有两个元素,求实数k的值组成的集合;(3)若集合A中至少有一个元素,求实数k的值组成的集合.试题情境:课程学习情境.必备知识:集合的含义,集合的表示方法,一元二次方程.关键能力:逻辑思维能力,运算求解能力.学科素养:逻辑推理,数学运算.解:(1)①当k=0时,方程kx2-8x+16=0变为-8x+16=0,解得x=2,满足题意;②当k≠0时,要使集合A={x|kx2-8x+16=0}中只有一个元素,则方程kx2-8x+16=0有两个相等的实数根,所以Δ=64-64k=0,解得k=1,此时集合A={4},满足题意.综上所述,k=0或k=1,故实数k的值组成的集合为{0,1}.(2)由题意可知,方程kx2-8x+16=0有两个不等实根,故即k<1且k≠0.所以实数k的值组成的集合为{k|k<1,且k≠0}.(3)由题意可知,方程kx2-8x+16=0至少有一个实数根.①当k=0时,由-8x+16=0得x=2,符合题意;②当k≠0时,要使方程kx2-8x+16=0至少有一个实数根,则Δ=64-64k≥0,即k≤1.综合①②可知,实数k的值组成的集合为{k|k≤1}.[素养演练] 已知M={a|a≤-2,或a≥2},A={a|(a-2)(a2-3)=0,a∈M},则集合A的元素个数为( )(A)0 (B)1 (C)2 (D)3解析:由(a-2)(a2-3)=0,得a-2=0或a2-3=0,解得a=2或a=或a=-.又因为a∈M,所以a=2,所以集合A的元素个数为1.故选B.[例1] 直角坐标平面中除去两点A(1,1),B(2,-2)可用集合表示为( )(A){(x,y)|x≠1,y≠1,x≠2,y≠-2}(B){(x,y)|或}(C){(x,y)|[(x-1)2+(y-1)2][(x-2)2+(y+2)2]≠0}(D){(x,y)|[(x-1)2+(y-1)2]+[(x-2)2+(y+2)2]≠0}解析:直角坐标平面中除去两点A(1,1),B(2,-2),其余的点全部在集合中,A选项中除去的是四条直线x=1,y=1,x=2,y=-2;B选项中除去的是A(1,1)或除去B(2,-2)或者同时除去A,B两个点,共有三种情况,不符合题意;C选项{(x,y)|[(x-1)2+(y-1)2][(x-2)2+(y+2)2]≠0},则(x-1)2+(y-1)2≠0且(x-2)2+(y+2)2≠0,即除去两点A(1,1),B(2,-2),符合题意;D选项{(x,y)|[(x-1)2+(y-1)2]+[(x-2)2+(y+2)2]≠0},则任意点(x,y)都不满足[(x-1)2+(y-1)2]+[(x-2)2+(y+2)2]=0,即不能同时除去A,B两点.故选C.[例2] 已知集合A的元素全为实数,且满足:若a∈A,则∈A.若a=2,求出A中其他所有元素.解:因为若a∈A,则∈A,所以当a=2时,==-3∈A;当a=-3时,==-∈A;当a=-时,==∈A;当a=时,==2∈A.综上,A中其他所有元素为-3,-,.基础巩固知识点一:集合的含义1.下列给出的对象中,能组成集合的是( B )(A)一切很大数(B)方程x2-1=0的实数根(C)漂亮的小女孩(D)好心人解析:A选项,元素不确定,不能组成集合,排除A;B选项,方程x2-1=0的实数根为±1,能组成集合,B正确;C选项,元素不确定,不能组成集合,排除C;D选项,元素不确定,不能组成集合,排除D.故选B.知识点二:元素与集合的关系2.已知集合A={a-2,a2+4a,10},若-3∈A,则实数a的值为( B )(A)-1 (B)-3(C)-3或-1 (D)无解解析:若-3∈A,可得当a-2=-3时,解得a=-1,此时A={-3,-3,10},不满足集合中元素的互异性,故a=-1应舍去;当a2+4a=-3时,解得a=-1(舍去)或a=-3,此时A={-5,-3,10},满足题意.故实数a的值为-3.故选B.3.集合M是由大于-2且小于1的实数构成的,则下列关系式正确的是( D )(A)∈M (B)0∉M(C)1∈M (D)-∈M解析:>1,故A错;-2<0<1,故B错;1不小于1,故C错;-2<-<1,故选D.知识点三:集合的表示方法4.下列集合不能用区间形式表示的是( D )①A={1,2,3,4};②{x|x是三角形};③{x|x>1,且x∈Q};④;⑤{x|2<x≤5,x∈N}.(A)①②③ (B)③④⑤(C)③⑤ (D)①②③④⑤解析:集合A={1,2,3,4}中的元素是不连续的四个实数,故不能用区间表示;所有三角形构成的集合只能用描述法表示,不能用区间表示;集合{x|x>1,且x∈Q}中的元素不连续,不能用区间表示;空集中不含任何元素,不能用区间表示;集合{x|2<x≤5,x∈N}中的元素不连续,不能用区间表示.所以不能用区间表示的有①②③④⑤.故选D.5.能被2整除的所有正整数的集合,用描述法可表示为 . 答案:{x|x=2n,n∈N+}6.集合{x∈N|∈N}用列举法可表示为 . 解析:由题意得,x-1是6的正约数,又6的正约数分别是1,2,3,6,所以x的值分别是2,3,4,7.答案:{2,3,4,7}能力提升7.设集合A={x|x2-2x=0},则下列表述正确的是( D )(A){0}∈A (B)2∉A(C){2}∈A (D)0∈A解析:因为A={x|x2-2x=0}={0,2},所以0∈A,2∈A,A,C表示错,B错,D正确.故选D.8.(多选题)用集合表示方程组的解集,下面正确的是( BD )(A)(-1,2) (B){(x,y)|}(C){-1,2} (D){(-1,2)}解析:解得故选BD.9.(多选题)由a2,2-a,4组成一个集合A,且集合A中含有3个元素,则实数a的取值可以是( AC )(A)-1 (B)-2 (C)6 (D)2解析:由题意得解得a≠±2且a≠1,因此排除BD,故选AC.10.设集合A={2,3,a2-3a,a++7},B={|a-2|,0},已知4∈A且4∉B,则实数a的取值集合为( D )(A){-1,-2} (B){-1,2}(C){-2,4} (D){4}解析:当a2-3a=4时,可得a=4或a=-1.若a=-1,则a++7=4,不合题意;若a=4,则a++7=11.5,|a-2|=2,符合题意;当a++7=4时,可得a=-1或a=-2.若a=-1,则a2-3a=4,不合题意;若a=-2,则|a-2|=4,不合题意.综上所述,a=4.故选D.11.设集合A={x|3x-1-m<0},若1∈A,则实数m的取值范围是 .解析:因为3x-1-m<0,所以x<,所以A={x|x<}. 又因为1∈A,所以>1,所以m>2,所以实数m的取值范围为(2,+∞).答案:(2,+∞)12.若a,b∈R,且a≠0,b≠0,则+的可能取值所组成的集合中元素的个数为 ,所有元素的和为 . 解析:当a,b同正时,+=+=1+1=2.当a,b同负时,+=+=-1-1=-2.当a,b异号时,+=0.所以+的可能取值所组成的集合中元素共有3个,且3个元素的和为2+(-2)+0=0.答案:3 013.根据要求写出下列集合.(1)已知集合A={x∈N|∈N},用列举法表示集合A;(2)已知方程组分别用描述法、列举法表示该集合;(3)已知集合B={(x,y)|2x+y-5=0,x∈N,y∈N},用列举法表示该集合.解:(1)因为∈N,则8-x可取的值有1,2,4,8,16,x的可能值有7,6,4,0,-8.因为x∈N,则x=7,6,4,0,所以A={0,4,6,7}.(2)方程组的解为所以用描述法表示该集合为{(x,y)|x=1,y=2},用列举法表示该集合为{(1,2)}.(3)当x=0时,y=5;当x=1时,y=3;当x=2时,y=1,所以用列举法表示该集合为{(0,5),(1,3),(2,1)}.14.已知集合A={x∈R|ax2+2x+1=0},其中a∈R.(1)若1是A中的一个元素,用列举法表示A;(2)若A中至多有一个元素,试求a的取值范围.解:(1)因为1∈A,所以a+2+1=0,得a=-3,所以A={x∈R|-3x2+2x+1=0}={-,1}.(2)当A中只有一个元素时,ax2+2x+1=0只有一个解,所以a=0或所以a=0或a=1.当A中没有元素时,ax2+2x+1=0无解,所以解得a>1.综上所述,a的取值范围为{a|a=0,或a≥1}.应用创新15.设数集A由实数构成,且满足:若x∈A(x≠1且x≠0),则∈A.(1)若2∈A,试证明A中还有另外两个元素;(2)集合A是否为双元素集合,并说明理由.(1)证明:因为若x∈A,则∈A.又因为2∈A,所以=-1∈A.因为-1∈A,所以=∈A.所以A中还有另外两个元素,分别为-1,.(2)解:集合A不是双元素集合,理由如下:因为x∈A,∈A,所以∈A,且x≠,≠,x≠,所以集合A中至少有3个元素,所以集合A不是双元素集合.

